Датчик Частоты Вращения Входного Вала Акпп Тойота – Последовательность проверки
Горит лампа неисправности или сообщение на панели приборов в Skoda Octavia
Каждый раз, при запуске двигателя, на приборной панели автомобиля загорается множество символов. Что они означают, и что будет, если один из индикаторов не гаснет?
Каждый автомобиль имеет различные индикаторы на приборной панели, такие как индикатор управления двигателем или давления масла, относящиеся к разным системам. Индикаторы загораются на некоторое время, при включении зажигания, и снова гаснут. Если один или несколько сигнальных индикаторов продолжают гореть при работающем двигателе, то возможно, возникла неисправность в автомобиле.
Индикаторы на приборной панели отображаются красным, желтым, зеленым и синим цветом в зависимости от серьезности проблемы. Хотя синие и зеленые предупреждающие огни менее важны, советуем принимать те же меры, что и для более серьезных предупреждений.
Некоторые неисправности можно легко исправить, например, предупреждение о низком уровне жидкости для омывателя лобового стекла. Более серьезные неисправности обозначаются красным и желтым цветом, их следует проверять в первую очередь, особенно относящиеся к тормозной системе, двигателю, маслу или коробке передач.
Большинство индикаторов являются стандартными для всех марок и моделей автомобилей, но их точное расположение на приборной панели или вокруг нее может отличаться. Рассмотрим наиболее важные из них.

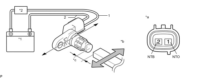
P0715, P0717
- Примечение! Описанные ниже шаги не относятся к информационным индикациям (как правило, зеленого или белого цвета), горящих на приборной панели
- Электронная диагностика — подключение диагностического сканера для считывания ошибок в регистраторе данных
- При необходимости, выполнение пошагового поиска неисправностей на основании полученных результатов электронной диагностики
- Важно! Если горит индикация желтого цвета, то автомобиль можно использовать с ограничениями его мощностных характеристик
- Если же горит индикация красного цвета, то и вовсе следует ограничиться от передвижения на транспортном средстве и доставить автомобиль на станцию обслуживания, с помощью эвакуационных служб
P0716 A/T Рациональность датчика частоты вращения входного вала — Клубный автосервис АвтоМиг в Москве OK: Отсутствие царапин и посторонних частиц на наконечнике датчика.
Ошибки транмиссий DSG7 0AM / 0CW
Ошибки, возникающие из-за проблем с механической частью коробки: заклинивание вилок переключения, износ блокирующих колец, неисправности сцепления, износ подшипников и др.:
Ошибки, которые говорят о чрезмерном износе сцепления, либо неправильной его регулировке при замене, либо о том, что механизмы его саморегулировки нарушены вследствие ДТП. Решаются заменой сцепления или его повторной регулировкой, со снятием коробки:
Ошибки, связанные с неисправность гидравлической платы мехатроника. Решаются ремонтом или заменой гидравлической части:
Ошибки, которые указывают на неисправность электронной платы мехатроника и решаются заменой или ремонтом платы:
Ошибки, возникающие из-за неисправности электромагнитных клапанов мехатроника. Обычно решаются перезапуском двигателя. Иногда говорят о проблемах со сцеплением и требуют параметрической диагностики:
- 005982 P175E — Муфта 1 непреднамеренно замкнута (Clutch 1: Closes Unintentionally)
- 005981 P175D — Муфта 1 непреднамеренно разомкнута (Clutch 1: Opens Unintentionally)
- 005999 P176F — Муфта 2 непреднамеренно замкнута (Clutch 2: Closes Unintentionally)
005998 P176E — Муфта 2 непреднамеренно разомкнута (Clutch 2: Opens Unintentionally)
Ошибки, связанные с проблемами программного обеспечения мехатроника
Ошибки, связанные с тем, что металлическая пыль оседает на магнитных лентах датчиков вилок переключения из-за износа механических частей. Следствие — недостоверный сигнал в ЭБУ. Решение — ремонт механической части коробки:

Горит лампа неисправности или сообщение на панели приборов в Шкода Октавия, как устранить и что делать?
Ошибки АКПП (на приборной панели) Audi, Volkswagen, Skoda и их причины Не пропусти: типичные проблемы и ремонт «робота» DSG-6 мы описывали здесь, «робота» DSG-7 -здесь.
Авто опросы:

Кузовной ремонт
Консультации:
Kia ceed 1.6 хэтч, 2019 VIN .
Сколько будет стоить замена передней правой ф[. ]
Hyundai Santa Fe DM 2.4 бенз.
Подскажите, сколько будет стоить: 1) замена р[. ]
Киа Рио 2 1.4 акппп 2010.
Добрый день. Вы проводите диагностику системы[. ]
киа сид 1,6бензин акп 2008.
здравствуйте. крыло: вмятина и окраска (можн[. ]
Kia Sportage 2.
Добрый день! Подскажите пожалуйста стоимость[. ]
Хендай i30 1,4 2013г.
Здравствуйте,не подскажите у меня автомобиль [. ]
Hyundai i30 2011 г.в, мотор .
Добрый день подскажите стоимость замены с ваш[. ]
Kia Rio 2012 , акпп.
Здравствуйте. Подскажите, стоимость только р[. ]
Kia cerato 1.6 2011г.
Интересует стоимость замены цепи грм, с прове[. ]
Ремонт двигателей:
Новые обращения Киа:
Замена масла в двигателе Киа Мохав
Замена и ремонт двери Киа Соренто
Замена масла в двигателе Киа Соул
Замена шлангов, жидкости и насоса ГУР Киа Соренто
Шиномонтаж Киа Рио
Ремонт других марок:
Замена порогов Тойота Рав 4
Ремонт арок крыла Хонда Цивик
Кузовной ремонт Чери Тигго
Замена порогов Хонда ЦРВ
Кузовной ремонт Инфинити QX50
Новые обращения Хендай:
Замена антифриза Хендай i20
Кузовной ремонт Хендай Туссан
Замена радиатора охлаждения и кондиционера Хендай Санта Фе
Плановое ТО Хендай Санта Фе №8 (120000 км)
Шиномонтаж Хендай Соната
Ремонт других марок в нашем техцентре:
Автосервис Москва, Авиамоторная
Автосервис ЮВАО, ВАО — метро Авиамоторная:
Автосервис Серп и Молот | Автосервис Красноказарменная | Автосервис Лефортово
Ближайшие станции метро — Авиамоторная, Площадь Ильича, Шоссе Энтузиастов, Чкаловская, Бауманская, Семеновская. Ближайшие для подъезда улицы — третье транспортное кольцо (ТТК), проезд завода Серп и Молот, Лефортовский вал, Красноказарменная улица.
Автосервис Москва, Октябрьское поле
Автосервис СЗАО, САО — метро Октябрьское поле, станция Зорге МЦК (район Щукино, Хорошёво—Мнёвники)
Ближайшие станции метро — Октябрьское поле, Полежаевская. Станция Московского Центрального Кольца — Зорге. Ближайшие для подъезда улицы — Маршала Бирюзова, Берзарина, Народного ополчения, Зорге, Куусинена, Расплетина.
Коды неисправностей двигателя Z16XEP — Formula OPEL
P0715 Цепь датчика «A» частоты вращения входного вала/турбины, диапазон/характеристики — Клубный автосервис АвтоМиг в Москве УКАЗАНИЕ: Если поиск неисправностей выполнялся в соответствии с таблицей признаков неисправностей, вернитесь к таблице и перейдите к следующему шагу (Нажмите здесь).
