Ошибка P0110 Опель Зафира а Дизель © Ошибка р0900
Ошибка U0100 расшифровка кода неисправности
Сегодня же мы попробуем разобраться в причинах, почему мотор отказывается стартовать.
Сгорел предохранитель на прикуриватель
Да, вы не ослышались. Конструкторы АвтоВаза настолько гениальны, что повесили предохранитель и на прикуриватель, и на звуковой сигнал, и на иммобилайзер. Если предохранитель перегорает, то автомобиль не заведётся совсем.
Работа иммобилайзера
Если при запуске двигателя мигает иконка с ключом, то это свидетельствует о наличии реальных проблем. Можно открывать инструкцию, и начинать искать источник проблемы. Там можно найти описание каждой поломки, а также того сигнала, который ей соответствует. Речь идёт о частоте мигания диодом.
Ошибка U0100 «Приемник CAN шины (ЭБУ ДВС) — частый глюк иммобилайзера на Гранте
Если же машина не заводится вплоть до четвёртого или даже пятого раза, то может потребоваться провести переобучение ключа.
Важно! Не стоит путать мигающий сигнализатор «машинка с ключом» с постоянно горящим. Если после запуска двигателя сигнализатор горит около 10 секунд, а потом выключается, то это означает, что иммобилайзер на Вашем автомобиле неактивирован.
Стартер не крутит
Но, стартер может не крутиться и по той причине, что аккумулятор разряжен. Проверить это можно, если на щитке приборов не светятся лампочки. Даже если они светят, то вам нужно будет включить дальний свет, и посмотреть, нормально ли он функционирует. Если яркость низкая, то такого заряда может быть недостаточно, чтобы начать «крутить стартер».
Посмотреть напряжение бортовой цепи можно в бортовом компьютере. Если напряжение меньше 11.4 Вольт, то стартеру не хватит мощности, чтобы провернуть коленчатый вал двигателя.
Оптимальным решением будет зарядить аккумулятор или же «прикурить» у кого-то. Дайте поработать автомобилю на холостом ходу около 10-15 минут. Этого будет достаточно, чтобы немного «восстановить» силы аккумулятора.
Проблемы со стартером могут иметь и другие источники, а именно — повреждённую проводку. В этом случае на помощь придёт обычный тестер. Красный контакт подключаем к стартеру, а черный — к корпусу авто. Показатель должен находиться в пределах 12,5 и 14,5 вольт. Найти место поломки может быть сложно, тем более в «полевых условиях».
Треск стартера при запуске
Если у Вас наблюдается похожая ситуация, то необходимы снятие и ремонт стартера. Иначе, вы рискуете просто не завестись в следующий раз!
Электронный блок управления
Выше мы рассмотрели простые причины, по которым Лада Гранта может не завестись. Намного сложнее бывает, если из строя вышел электронный блок управления, который называют просто ЭБУ. В народе данный элемент именуют «мозгами».
Проблем с ЭБУ быть не должно, если не трогать его. Но, зачастую, случается ситуация, когда поверхность данного элемента заливается антифризом, ввиду особенностей его расположения. (проблема первых автомобилей Лада Калина).

U0100 — Утрачена связь с ECM / PCM A
- Астру необходимо обесточить, отсоединяем клеммы аккумулятора.
- С блока предохранителей снимается крышка.
- Вынимается разъем из передней части блока предохранителей.
- В самом блоке выкручиваем 3 винта. Их особенность в том, что вытащить их нельзя, поэтому не стоит даже пытаться. Еще один болт у основания.
- Затем снимаем деталь целиком, и зачищаем все видимые контакты. Рекомендуется обработать специальной смазкой для электроконтактов.
- Сборка производится в обратном порядке.
- Следующим шагом будет обработка контактов электронного блока управления двигателя. Его разъем находится над заливной крышкой мотора. Вынимаем, обрабатываем смазкой, вставляем обратно.
Коды ошибок Тойота Королла 150, 120, 110, 100: расшифровка неисправностей, сброс Ниже приведены несколько наиболее распространенных причин кода неисправности U0100.
Моторный отсек

- Блок управления форсунками (EDU)
- Главное реле лебедки
- Реле свечей накала
- Блок предохранителей
- Блок силовых предохранителей
- Блок управления левой фарой
- Реле вспомогательного отопителя
- Реле-выключатель по температуре охлаждающей жидкости
- Реле вентилятора кондиционера
- Реле очистителей фар
- Блок управления правой фарой
- Блок силовых предохранителей (холодная зона)
- Реле дневных ходовых огней №3
- Реле подогревателя на впуске
Toyota Land Cruiser J100 (1998-2007) — проблемы и неисправности
- Блок управления люком
- RHD: Блок управления зеркалами с электроприводом
- Усилитель аудиосистемы
- Усилитель кондиционера
- Реле заднего вентилятора
- Вариант 1: Реле заднего стеклоочистителя
- Реле сцепного устройства
- Реле прицепа
- Блок управления топливным насосом
- Реле выбора топливного насоса
- Реле принудительного включения дополнительного топливного насоса
- ’02-’07: Блок управления монитором заднего вида
- ’02-’07: Блок управления навигацией
- Реле заднего отопителя
- Управляющий клапан
- LHD: Блок управления зеркалами с электроприводом
- Вариант 2: Реле заднего правого стеклоочистителя
- Вариант 2: Реле заднего левого стеклоочистителя
Схема предохранителей и реле Toyota Land Cruiser 100 (1998-2007) » Схемы предохранителей, электросхемы автомобилей Ищите неполадку в реле зарядки, проводке ганератора.
Коробка передач
5-ступенчатая механика полагалась только дизельным агрегатам. Она практически вечная. Тем не менее, большинство машин оснащены автоматом. До 2003 года он имел четыре передачи (A340F), а после пять (с дизельными моторами только с 2004 года). Обе АКПП разработаны Aisin.
4-скоростная A340F весьма надежная и неприхотливая — приезжает на ремонт после 400 000 км. Чаще всего изнашивается гидротрансформатор, что приводит к вибрациям и биениям, а так же к износу насоса, сальника и втулки.
5-диапазонная A750F оказывается в сервисе раньше – уже после 200-250 тыс. км. Первыми вырабатывают свой ресурс соленоиды, тефлоновые и резиновые кольца, бумажные прокладки. При регулярных выездах на бездорожье возникают проблемы с гидротрансформатором и гидроплитой. Для ремонта понадобится свыше 60 000 рублей.

Ошибка Р0100: код, на что указывает, как исправить
Неисправность АБС 33

«Прадик» тоже бесит: Эксперты рассказали, на что чаще всего жалуются владельцы Toyota LC Prado
Техосмотр в России по новым правилам: что поменялось и как проходить У «Прадо» нет плохих двигателей, но когда речь заходит об эксплуатации в России, преимущества дизеля значительно возрастают. Toyota Land Cruiser Prado 150 с мотором 2.8 превосходит бензиновые.
Расшифровка кодов неисправностей Toyota Corolla
Ошибка С0210
Задний правый датчик частоты вращения колеса работает некорректно. Проверьте проводку и сенсор.
C0215 — код
C1241 — неисправность
Ошибка DTC регистрируется если напряжение на источнике питания ниже установленной нормы.
U0100 — код
Нарушен контакт на шине между блоком управления двигателем и центральной диагностической системой. Нужно прозвонить шину на наличие обрывов или окисления контактов.
U0129 — код Королла

Потеря связи с ЭБУ по CAN шине. Действия при ремонте аналогичны пункту, указанному выше.
B1421 — неисправность
Датчик солнечной активности со стороны водителя. Возможно, контроллер просто грязный или отошла его контактная группа.
B1423 — ошибка
Цепь датчика давления разорвана или имеются повреждения. Проверьте правильность подключения устройства. Если модуль функционирует корректно — диагностируйте контролируемый прибор.
B1821 — ошибка Corolla
Обрыв цепи управления воспламенителем пиропатрона подушки безопасности. Нужна диагностика магистралей.
B279a — неисправность
В линии связи противоугонной системы постоянно прослеживается повышенный сигнал. Возможно, цепи управления замкнуты с касанием на плюсовой провод.
B2799 — неисправность Corolla
Потеря связи между блоком управления двигателем и модулем иммобилайзера. Здесь налицо обрыв контактной группы или окисление на колодках. В редких случаях причиной становятся связные части систем.
Ошибка 12 Королла Церес
Датчик положения коленвала подает неправильные данные на ECU.
Код 14
Наличие проблем в катушках зажигания. Учитывается наличие неисправностей в проводке и контактных группах.
Ошибка 15
На катушке 2 системы зажигания имеется потеря контакта.
Код 21 климат контроль
Неисправность указывает не поломку датчика кислорода №1. На последних версиях автомобиля, система указывает на поломку в климатической установке.
Ошибка 22
Датчик температуры ОЖ передает неправильные данные. Нужна более тщательная диагностика узла. Обычно теряется контакт на проводке.
Код 24
Датчик температуры воздуха на впускном коллекторе работает неправильно. Подобная проблема возникает на модели типа АЕ100.
Ошибка 25
Чрезмерно обедненная топливная смесь. Проверьте настройки дроссельной заслонки и герметичность магистралей.
Код 26
Противоположное значение – переобогащенная смесь на впуске в коллектор. Смотрите на воздушную магистраль. Обычно засорен фильтр.
Р0136 — неисправность Королла
Ошибка ESP + ESP OFF в Chevrolet Captiva То же самое для четвертой рабочей камеры.
Блоки под капотом
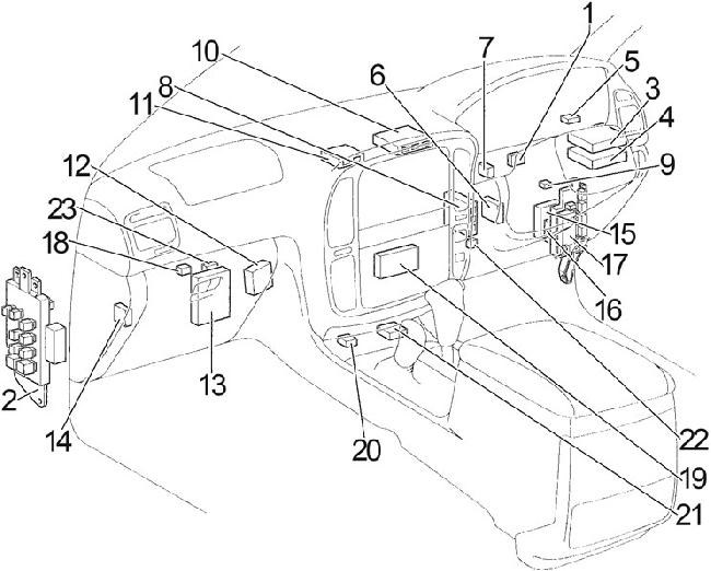
Расположение
Общая схема расположения блоков под капотом

- Блок управления форсунками (EDU)
- Главное реле лебедки
- Реле свечей накала
- Блок предохранителей и реле
- Блок силовых предохранителей
- Блок управления левой фарой
- Реле вспомогательного отопителя
- Реле-выключатель по температуре охлаждающей жидкости
- Реле вентилятора кондиционера
- Реле очистителей фар
- Блок управления правой фарой
- Блок силовых предохранителей (холодная зона)
- Реле дневных ходовых огней №3
- Реле подогревателя на впуске
Блок предохранителей и реле
Расположен с левой стороны, рядом с аккумулятором.
| R1 | Реле-выключатель по температуре охлаждающей жидкости |
| R2 | Муфта компрессора кондиционера (MG CLT) |
| R3 | Вентилятор системы охлаждения (CDS FAN) |
| R4 | Звуковой сигнал |
| R5 | Фары (HEAD) |
| R6 | Дальний свет (HEAD HI) |
| R7 | Обогрев зеркал (MIR HTR) |
| R8 | Задний отопитель (RR HTR) |
| R9 | Подсветка панели приборов (PANEL) |
| R10 | Передний противотуманный свет (FR FOG) |
| R11 | Зажигание (IG NO.1) |
| R12 | Габаритный свет (TAIL) |
Блок на АКБ
На плюсовой клемме аккумуляторной батареи, крепится блок предохранителей выполненный в виде плавких вставок.
| R1 | Топливный насос (C/OPN) |
| R2 | Топливный насос (FUEL/PMP) |
| R3 | (D/L (L)) |
| R4 | (SPIL/VLV) |
| R5 | Стартер (ST/CUT) |
| R6 | (D/L (U)) |
| R7 | Передний противотуманный свет (FR FOG) |
| R8 | – |
| R9 | Обогрев заднего стекла (DEFOG) |
| R10 | Стеклоподъемники, люк (POWER) |
| R11 | Задний отопитель (RR HTR) |
| R12 | Освещение салона (DOME) |
| R13 | Габаритный свет (TAIL) |
B1821 — ошибка Corolla
- Блок управления люком
- RHD: Блок управления зеркалами с электроприводом
- Усилитель аудиосистемы
- Усилитель кондиционера
- Реле заднего вентилятора
- Вариант 1: Реле заднего стеклоочистителя
- Реле сцепного устройства
- Реле прицепа
- Блок управления топливным насосом
- Реле выбора топливного насоса
- Реле принудительного включения дополнительного топливного насоса
- ’02-’07: Блок управления монитором заднего вида
- ’02-’07: Блок управления навигацией
- Реле заднего отопителя
- Управляющий клапан
- LHD: Блок управления зеркалами с электроприводом
- Вариант 2: Реле заднего правого стеклоочистителя
- Вариант 2: Реле заднего левого стеклоочистителя
Представлен бронированный Land Cruiser 200 с шикарным салоном Поездки за рулем Toyota Land Cruiser 100 могут стать тяжелым испытанием для вашего кошелька. Однако сложно найти более универсальный и выносливый внедорожник на все случаи в жизни. А если что-то и ломается или чрезмерно быстро изнашивается, то, как правило, из-за частых выездов на бездорожье.
Cимптомы кода ошибки OBD2 — U0100
Прежде чем двигаться дальше, давайте рассмотрим основные симптомы кода U0100.
Начнем с того, что мы уже упоминали: индикатор проверки двигателя или все сигнальные лампы вашего автомобиля загораются одновременно. Но есть и другие вещи, которые также могут указывать на появление кода U0100.
Симптомы кода неисправности U0100 могут включать.
- Автомобиль глохнет, не запускается и не запускается
- Будет установлен код неисправности OBD U0100 и загорится индикатор проверки двигателя.
- Автомобиль может запуститься после простоя в течение определенного периода времени, однако его эксплуатация будет рискованной, поскольку она может снова выйти из строя в самый неподходящий момент.
Все эти проблемы связаны с одной и той же причиной: проблема с модулем управления питанием (PCM) вашего автомобиля. PCM управляет широким спектром систем вашего автомобиля, включая соотношение воздуха и топлива, синхронизацию двигателя и стартер. Он подключен к десяткам датчиков в вашем автомобиле, от давления в шинах до температуры воздуха на впуске.

Неисправности инициализации
- Неисправный ECM , TCM или другие сетевые модули
- «Открытая» проводка в сети CAN-bus
- Заземление или короткое замыкание в сети CAN-шины
- Дефект контакта, связанный с одним или несколькими сетевыми разъемами CAN-шины.
Правый блок предохранителей в салоне ( 2002-2007 ) Шина CAN позволяет микроконтроллерам и модулям, а также другим устройствам обмениваться данными независимо от главного компьютера. Шина CAN была разработана специально для автомобилей.
